Passer au contenu principal Passer à la recherche Passer à la navigation principale
Livraison gratuite à partir de 399 €
Partenaire de service de plus de 50 fabricants
Plus de 40.000 pièces de rechange dans l'assortiment
+10 ans d'expérience

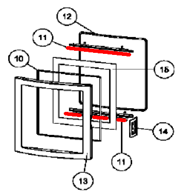
Austroflamm Chester Compact joint d’étanchéité support de vitre

joint d’étanchéité /  cordon d'étanchéité / bande d'étanchéité

 

Informations sur le produit "Austroflamm Chester Compact joint d’étanchéité support de vitre"

joint d’étanchéité pour support de vitre pour le poêle Austroflamm Chester Compact

  • Ce cordon d'étanchéité est placé entre le verre et les supports de verre
  • La longueur est suffisante pour remplacer les joints du support de disque supérieur et inférieur.

Austroflamm Chester Compact joint d’étanchéité pour support de vitre données clés:

  • cordon d'étanchéité, bande d'étanchéité
  • joint plat
  • dimensions (la/ha) 8 mm x 2 mm
  • longueur 1,00 m
  • autocollant
  • repère 11 sur la vue éclatée
Eigenschaften "Austroflamm Chester Compact joint d’étanchéité support de vitre"
Fabricant: Austroflamm
modèle: Chester
pièce détachée: joint d’étanchéité
type: Compact

Responsable de l'UE

Austroflamm GmbH
Austroflamm-Platz 1
4631 Krenglbach
AT
info@austroflamm.com

Prod. similaires

Seul 1 disponible
Austroflamm Chester Compact joint d’étanchéité vitre
d‘origine joint d’étanchéité vitre pour le poêle Austroflamm Chester Compact Nous recommandons de remplacer en même temps le joint du porte-disque. Ceci est disponible séparément chez nous. Austroflamm Chester Compact joint d’étanchéité vitre données clés: joint de vitre, cordon d’étanchéité longueur 2,00 m diamètre 8 mm repère 10 sur la vue éclatée
Référence du produit: 01007994

Contenu : 2 mètre (15,20 €*¹ / 1 mètre)

30,40 €*¹

Disponible, délai de livraison : 4-6 jours

Austroflamm Chester Compact vitre
d‘origine vitre pour le poêle Austroflamm Chester Compact Austroflamm Chester Compact vitre données clés: vitrocéramique dimensions (la/lo/ha) 420 mm x 498 mm x 4 mm matériau verre forme plat thermorésistant repère 15 sur la vue éclatée
Référence du produit: 01008001

346,68 €*¹

Délai de livraison environ 2-3 semaines

Austroflamm Chester Compact joint de porte
d‘origine joint de porte pour le poêle Austroflamm Chester Compact Austroflamm Chester Compact joint de porte données clés: paumelle, cordon d’étanchéité joint à lèvre dimensions (la/ha) 8 mm x 16 mm longueur 2,00 m repère 12 sur la vue éclatée
Référence du produit: 01008003

Contenu : 2 mètre (33,46 €*¹ / 1 mètre)

66,91 €*¹

Délai de livraison environ 2-3 semaines

Seul 3 disponible
Austroflamm Chester Compact déflecteur
d‘origine déflecteur pour le poêle Austroflamm Chester Compact Austroflamm Chester Compact déflecteur données clés: déflecteur de fumée dimensions (la/lo/ha) 235 mm x 366 mm x 70 mm matériau keramott repère 7 sur la vue éclatée
Référence du produit: 01008004

104,91 €*¹

Disponible, délai de livraison : 4-6 jours

Seul 1 disponible
Austroflamm Chester Compact revêtement de chambre de combustion
d‘origine revêtement de chambre de combustion pour le poêle Austroflamm Chester Compact ensemble de 8 pièces Austroflamm Chester Compact revêtement de chambre de combustion données clés: 8 pièces Briques de foyer, briques de foyer Matériel Keramott pierre de sole gauche (215 x 242 x 30 mm), pierre de sole droit (215 x 242 x 30 mm) Capteur en bois (373 x 84 x 105 mm) Pierre côté gauche (480/405 x 220 x 55/35 mm), pierre côté droit (215 x 405/480 x 45 mm) Brique de mur arrière gauche (390 x 178 x 58/34 mm), brique de mur arrière droit (390 x 178 x 58/34 mm) Déflecteur (366 x 235 x 70 mm)
Référence du produit: 01022493

485,05 €*¹

Disponible, délai de livraison : 4-6 jours