Passer au contenu principal Passer à la recherche Passer à la navigation principale
Livraison gratuite à partir de 399 €
Partenaire de service de plus de 50 fabricants
Plus de 40.000 pièces de rechange dans l'assortiment
+10 ans d'expérience

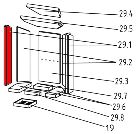
Justus Island 5 pierre latérale gauche avant A

pierre latérale /  pierre de chambre de combustion / pierre de foyer

 

Informations sur le produit "Justus Island 5 pierre latérale gauche avant A"

d‘origine pierre latérale gauche avant A pour le poêle Justus Island 5

  • Il existe différents revêtements de chambre de combustion pour l'île 5, veuillez vous référer aux dimensions des briques de la chambre de combustion.
  • convient pour la chambre de combustion, où les pierres latérales sont lisses

Justus Island 5 pierre latérale gauche avant données clés:

  • pierre de chambre de combustion, pierre de foyer
  • dimensions (la/lo/ha) 82 mm x 450/480 mm x 25 mm
  • matériau grenamate
  • repère 29.1 sur la vue éclatée
Eigenschaften "Justus Island 5 pierre latérale gauche avant A"
Fabricant: Justus
matière: grenamate
modèle: Island
pièce détachée: pierre latérale
type: type 5545

Responsable de l'UE

Justus GmbH
Sechsheldener Straße 122
35708 Haiger-Sechshelden
DE
info@justus.de

Prod. similaires

Seul 5 disponible
Justus Island 5 déflecteur bas A
d‘origine déflecteur bas A pour le poêle Justus Island 5 Il existe différents revêtements de chambre de combustion pour l'île 5, veuillez vous référer aux dimensions des briques de la chambre de combustion. convient pour la chambre de combustion, où les pierres latérales sont lisses Justus Island 5 déflecteur bas données clés: déflecteur de fumée dimensions (la/lo/ha) 347 mm x 159 mm x 25 mm matériau vermiculite repère 29.5 sur la vue éclatée
Référence du produit: 01001667

40,51 €*¹

Disponible, délai de livraison : 4-6 jours

Justus Island 5 grille de décendrage
d‘origine grille de décendrage pour le poêle Justus Island 5 Justus Island 5 grille de décendrage données clés: grille de foyer, grille dimensions (la/lo/ha) 135 mm x 135 mm x 30 mm matériau fonte
Référence du produit: 01016581

62,79 €*¹

Disponible, délai de livraison : 4-6 jours

Justus Island 5 vitre A
d‘origine vitre A pour le poêle Justus Island 5 Il existe différentes vitres pour ce modèle. Veuillez vous orienter à l'aide du mécanisme de verrouillage de votre cheminée. Veuillez vous référer aux dimensions de la fenêtre. Justus Island 5 vitre données clés: vitrocéramique dimensions (la/lo/ha) 315 mm x 405 mm x 4 mm matériau verre forme rectangulaire thermorésistant repère 5 sur la vue éclatée
Référence du produit: 01017312

155,11 €*¹

Disponible, délai de livraison : 4-6 jours

Seul 8 disponible
Justus Island 5 joint d’étanchéité vitre A
joint d’étanchéité vitre A pour le poêle Justus Island 5 Pour l'île de Justus 5, il y a 2 différents phoques à disque. Veuillez vous orienter en fonction de la forme de votre sceau de verre existant. (joint plat ou ensemble de différents cordons d'étanchéité) Justus Island 5 joint d’étanchéité vitre données clés: joint de vitre, cordon d’étanchéité joint d'étanchéité auto-adhésif dimensions (la/ha) 10 mm x 2 mm longueur 2,00 m autocollant
Référence du produit: 01018565

Contenu : 2 mètre (13,66 €*¹ / 1 mètre)

27,31 €*¹

Disponible, délai de livraison : 4-6 jours

Justus Island 5 joint de porte A
joint de porte A pour le poêle Justus Island 5 Il existe différents joints de porte pour ce poêle. Veuillez vous référer à la forme de votre joint existant. (sceau à cordon plat ou sceau à cordon creux) Nous recommandons un adhésif et des liens supplémentaires pour éviter l'effilochage des extrémités. Justus Island 5 joint de porte données clés: paumelle, cordon d’étanchéité joint tresse dimensions (la/ha) 10 mm x 6 mm longueur 3,00 m
Référence du produit: 01018834

Contenu : 3 mètre (10,37 €*¹ / 1 mètre)

31,10 €*¹

Disponible, délai de livraison : 4-6 jours

Seul 2 disponible
Justus Island 5 revêtement de chambre de combustion A
d‘origine revêtement de chambre de combustion A pour le poêle Justus Island 5 Il existe différents types de doublure pour ce modèle. Veuillez vous orienter sur la surface des panneaux debout. (lisse ou ondulé) Les pierres debout de cet ensemble ont une surface lisse. ensemble de 11 pièces Justus Island 5 revêtement de chambre de combustion données clés: Matériau Grenamat pierre de sole gauche (93 x 140/223 x 30 mm), pierre de sole droit (93 x 140/223 x 30 mm), pierre de sole avant (135 x 25 x 30 mm), pierre de sole arrière (135 x 62 x 30 mm), Pierre du côté gauche (480/450 x 82 x 25 mm), pierre du côté gauche (450/405 x 102 x 25 mm) Pierre côté droit (480/450 x 82 x 25 mm), Pierre côté droit (450/405 x 102 x 25 mm) brique de paroi arrière perforée (402 x 179 x 25 mm) déflecteur en haut (280 x 170/175 x 25 mm), déflecteur en bas (350/182 x 159 x 25 mm)
Référence du produit: 01019567

353,60 €*¹

Disponible, délai de livraison : 4-6 jours

Seul 2 disponible
Justus Island 5 pierre de sole kit A
d‘origine pierre de sole kit A pour le poêle Justus Island 5 Justus Island 5 pierre de sole données clés: 4 pièces Ensemble pierre de sole, ensemble de pierres de chambre de combustion allongé Matériau vermiculite pierre de sole gauche (93 x 140/223 x 30 mm), pierre de sole droit (93 x 140/223 x 30 mm), pierre de sole avant (135 x 25 x 30 mm), pierre de sole arrière (135 x 62 x 30 mm), Positions 29,6L, 29,6R, 29,7 et 29,8 dans la vue éclatée
Référence du produit: 01020919

154,94 €*¹

Disponible, délai de livraison : 4-6 jours

Seul 3 disponible
Justus Island 5 pierre latérale kit A
d‘origine pierre latérale kit A pour le poêle Justus Island 5 convient pour la chambre de combustion, où les pierres latérales sont lisses ensemble de 5 pièces Justus Island 5 pierre latérale données clés: 5 pièces Ensemble de pierre latérale, ensemble de pierre de chambre de combustion latérale Matériau vermiculite Pierre du côté gauche (480/450 x 82 x 25 mm), pierre du côté gauche (450/405 x 102 x 25 mm) Pierre côté droit (480/450 x 82 x 25 mm), Pierre côté droit (450/405 x 102 x 25 mm) brique de paroi arrière perforée (402 x 179 x 25 mm) Positions 29.1, 29.2 et 29.3 dans la vue éclatée
Référence du produit: 01022359

204,99 €*¹

Disponible, délai de livraison : 4-6 jours